首页 > 热门资讯 > 蔚来申请注册一枚“龙拍”商标,国际分类为科学仪器
蔚来申请注册一枚“龙拍”商标,国际分类为科学仪器

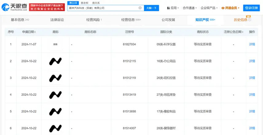
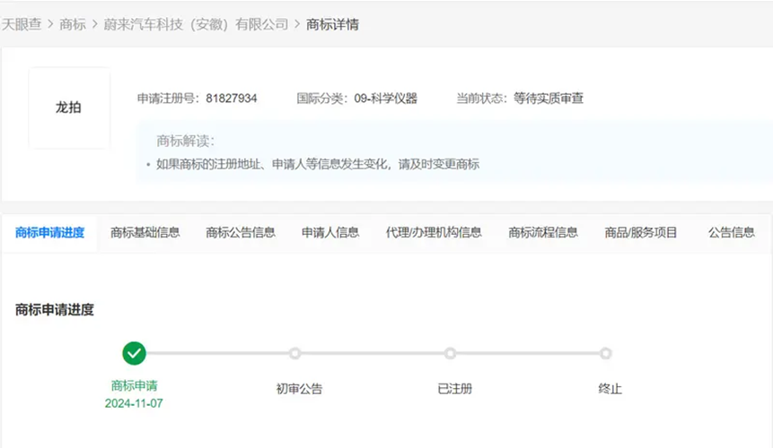
日前,我们从天眼查知识产权获悉,蔚来汽车科技(安徽)有限公司在11月7日申请注册1枚“龙拍”商标,国际分类为科学仪器,当前商标状态为等待实质审查。




12月1日,蔚来汽车官方宣布,蔚来公司11月交付新车20575台,连续7个月超2万台,同比增长28.9%。


今年前11月,蔚来公司共交付新车190832台,同比增长34.36%。截至目前,蔚来公司已累计交付新车640426台。


更多资讯
查看更多
15:39